Волгоград
Акции
Статьи
Сервис и Гарантия
  • Сервис
  • Сервисные центры
  • Гарантия
Оплата и доставка
  • Оплата
  • Доставка
Сотрудничество
Компания
  • О компании
  • Филиалы
  • Лицензии
  • Документы
  • Реквизиты
  • Отзывы
Контакты
    +7 (473) 300-36-44
    +7 (473) 300-36-44 Основной
    8-800-234-80-18 Многоканальный
    Заказать звонок
    E-mail
    info@aktivator.su
    Заказать звонок
    Активатор
    Окрасочное оборудование
    Оборудование для смесей
    Оборудование для подготовки поверхностей (пескоструйное)
    Оборудование для ППУ (пенополиуретана) и полимочевины
    Оборудование для инъекции смол, раствора и бетона
    Магнитные сверлильные станки, корончатые сверла (фрезы), фаскосниматели, заточные станки
    Дрели и установки алмазного бурения, алмазные коронки
    Электроинструмент
    Пневматический инструмент
    Измерительный инструмент
    Техника для склада
    Грузоподъемное оборудование (краны, тали, лебедки, домкраты и т.д.)
    Строительное оборудование и инструмент
    Сантехническое и каналопромывочное оборудование
    Электростанции
    Компрессоры и подготовка воздуха
    Отопительное оборудование
    Прочее
    • Окрасочное оборудование
      • Оборудование для порошковой окраски
        Оборудование для порошковой окраски
      • Аппараты окрасочные
        Аппараты окрасочные
        • Поршневые
        • Мембранные
        • Шнековые
        • Разметочные машины
        • Еще
      • Оснастка аппаратов окрасочных
        Оснастка аппаратов окрасочных
        • Бункера (баки)
        • Валики и роллеры
        • Вертлюги
        • Пистолеты
        • Поводки
        • Рукава окрасочные
        • Сопла
        • Соплодержатели
        • Сцепления для рукавов
        • Удлинители
        • Фильтры
        • Еще
      • Запчасти окрасочного оборудования
        Запчасти окрасочного оборудования
        • Блоки управления
        • Вкладыши ограничительные
        • Гайки и контргайки
        • Героторные пары
        • Гидравлика мембранных аппаратов
        • Датчики давления
        • Клапаны заборные и корпусы клапанов
        • Клапаны нагнетательные
        • Клапаны перепускные
        • Корпуса окрасочных блоков
        • Манометры и арматура
        • Мембраны
        • Механика приводная
        • Насосы поршневые
        • Патрубки
        • Пластификаторы и масла
        • Подшипники
        • Поршни насосов
        • Прочее
        • Регуляторы давления
        • Ремкомплекты к краскопультам
        • Ремкомплекты к пистолетам
        • Ремкомплекты поршневых насосов
        • Смотровые глазки
        • Цилиндры и гильзы поршневых насосов
        • Шары
        • Электрика
        • Еще
      • Разметочные машины
        Разметочные машины
      • Краскоизмельчители
        Краскоизмельчители
      • Красконагнетательные баки
        Красконагнетательные баки
      • Краскопульты
        Краскопульты
        • Аккумуляторные
        • Пневматические
        • Ручные для побелки
        • Электрические
        • Еще
      • Оснастка для краскопультов
        Оснастка для краскопультов
        • Баки нагнетательные
        • Бачки
        • Рукава (шлаги)
        • Сопла
        • Еще
      • Сопутствующие товары
        Сопутствующие товары
        • Измерительные приборы
        • Малярные лампы
        • Подъемники
        • Средства защиты
        • Стабилизаторы напряжения
        • Ходули
        • Еще
      • Устройства внутренней покраски труб
        Устройства внутренней покраски труб
    • Оборудование для смесей
      • Аппараты для шпатлевки
        Аппараты для шпатлевки
        • Мембранные
        • Поршневые
        • Шнековые. Нагнетательные баки
      • Запчасти оборудования для смесей
        Запчасти оборудования для смесей
        • Героторные пары
        • Для безвоздушных
        • Для шнековых
      • Валики для шпатлевки
        Валики для шпатлевки
      • Оснастка оборудования для смесей
        Оснастка оборудования для смесей
        • Пистолеты
        • Рукава
        • Сопла
      • Хопперы
        Хопперы
      • Штукатурные станции
        Штукатурные станции
      • Пылесосы
        Пылесосы
      • Шлифовальные машины
        Шлифовальные машины
      • Шпатели, боксы для шпатлевки
        Шпатели, боксы для шпатлевки
    • Оборудование для подготовки поверхностей (пескоструйное)
      • Абразивоструйные (пескоструйные) аппараты
        Абразивоструйные (пескоструйные) аппараты
      • Рукава пескоструйные
        Рукава пескоструйные
      • Соплодержатели, сцепления, уплотнители к ним, тросики
        Соплодержатели, сцепления, уплотнители к ним, тросики
      • Пескоструйные сопла
        Пескоструйные сопла
        • Сопла вставки в рукав
        • Сопла с каналом Вентури
        • Сопла с каналом Двойной Вентури
        • Сопла с цилиндрическим каналом
        • Сопла и адаптеры абразив + вода
        • Еще
      • Пистолеты пескоструйные и сопла к ним
        Пистолеты пескоструйные и сопла к ним
        • Пистолеты пескоструйные инжекторного типа
        • Сопла пескоструйные для пистолетов инжекторных
        • Сопла воздушные для пистолетов инжекторных (эжекторных)
      • Средства индивидуальной защиты (СИЗ) пескоструйщика
        Средства индивидуальной защиты (СИЗ) пескоструйщика
      • Камеры струйной очистки КСО (абразивоструйные кабины)
        Камеры струйной очистки КСО (абразивоструйные кабины)
        • КСО инжекторного типа
        • КСО напорного типа
        • Комплектующие к КСО
      • Системы фильтрации. Сбор и рекуперация, транспортировка абразива
        Системы фильтрации. Сбор и рекуперация, транспортировка абразива
        • Системы транспортировки абразивного материала
        • Самоочищающиеся фильтры СФ
        • Системы сбора и рекуперации абразивного материала
      • Устройства для внутренней очистки труб
        Устройства для внутренней очистки труб
      • Запчасти и аксессуары к пескоструйному оборудованию
        Запчасти и аксессуары к пескоструйному оборудованию
    • Оборудование для ППУ (пенополиуретана) и полимочевины
      • Комплектующие и запчасти к установкам ППУ и полимочевины
        Комплектующие и запчасти к установкам ППУ и полимочевины
      • Установки для ППУ и полимочевины
        Установки для ППУ и полимочевины
    • Оборудование для инъекции смол, раствора и бетона
      • Оборудование для инъектирования полимерных составов (смол, гелей)
        Оборудование для инъектирования полимерных составов (смол, гелей)
      • Оборудование для инъектирования цементных растворов
        Оборудование для инъектирования цементных растворов
      • Инъекционные пакеры
        Инъекционные пакеры
      • Комплектующие и запчасти
        Комплектующие и запчасти
    • Магнитные сверлильные станки, корончатые сверла (фрезы), фаскосниматели, заточные станки
      • Магнитные сверлильные станки
        Магнитные сверлильные станки
      • Корончатые сверла (кольцевые фрезы)
        Корончатые сверла (кольцевые фрезы)
        • Сверла из быстрорежущей стали HSS (GOLD-LINE, SILVER-LINE)
        • Твердосплавные сверла (с напайками) ТСТ или HM (HARD-LINE)
        • Штифты-выталкиватели
        • Коронки твердосплавные и адаптеры к ним
        • Еще
      • Патроны сверлильные, резьбонарезные и головки расточные
        Патроны сверлильные, резьбонарезные и головки расточные
      • Аксессуары для магнитных сверлильных станков
        Аксессуары для магнитных сверлильных станков
      • Запчасти к магнитным сверлильным станкам
        Запчасти к магнитным сверлильным станкам
      • Фаскосниматели (кромкорезы)
        Фаскосниматели (кромкорезы)
      • Заточные (точильные, точильно-шлифовальные) станки
        Заточные (точильные, точильно-шлифовальные) станки
    • Дрели и установки алмазного бурения, алмазные коронки
      • Дрели для алмазного бурения
        Дрели для алмазного бурения
      • Установки для алмазного бурения
        Установки для алмазного бурения
      • Стойки для установок алмазного бурения
        Стойки для установок алмазного бурения
      • Алмазные коронки
        Алмазные коронки
      • Дополнительное оборудование и оснастка
        Дополнительное оборудование и оснастка
      • Запчасти для дрелей и установок алмазного бурения
        Запчасти для дрелей и установок алмазного бурения
    • Электроинструмент
      • Аккумуляторы и зарядные устройства для инструмента
        Аккумуляторы и зарядные устройства для инструмента
        • Аккумуляторы
        • Зарядные устройства
      • Шуруповерты и дрели-шуруповерты
        Шуруповерты и дрели-шуруповерты
        • Безударные
        • Ударные
      • Дрели-миксеры
        Дрели-миксеры
      • Виброприсоски
        Виброприсоски
      • Гайковерты
        Гайковерты
      • Заклепочники
        Заклепочники
      • Краскопульты электрические
        Краскопульты электрические
      • Перфораторы
        Перфораторы
      • Пилы электрические
        Пилы электрические
      • Прочие электроинструменты
        Прочие электроинструменты
      • Реноваторы
        Реноваторы
      • Фрезеры
        Фрезеры
      • Шлифовальные машины
        Шлифовальные машины
        • Для стен и потолков
        • Угловые (УШМ)
        • Прямошлифовальные
        • Эксцентриковые (орбитальные)
        • Шлифовальные круги
        • Оснастка
        • Еще
      • Пылесосы
        Пылесосы
      • Рубанки
        Рубанки
    • Пневматический инструмент
      • Краскопульты пневматические
        Краскопульты пневматические
      • Молотки отбойные и бетоноломы, пики
        Молотки отбойные и бетоноломы, пики
      • Пневмошлифмашины
        Пневмошлифмашины
      • Дрели пневматические (пневмодрели)
        Дрели пневматические (пневмодрели)
      • Гайковерты пневматические (пневмогайковерты)
        Гайковерты пневматические (пневмогайковерты)
      • Молотки рубильные
        Молотки рубильные
      • Молотки клепальные
        Молотки клепальные
      • Рукава и шланги для пневмоинструмента
        Рукава и шланги для пневмоинструмента
      • Запчасти для пневмоинструмента
        Запчасти для пневмоинструмента
    • Измерительный инструмент
      • Дальномеры
        Дальномеры
      • Лазерные уровни
        Лазерные уровни
        • Аккумуляторы и зарядные устройства
        • Аксессуары
        • Нивелиры
    • Техника для склада
      • Тележки гидравлические (Рокла, рохла)
        Тележки гидравлические (Рокла, рохла)
      • Ручные гидравлические штабелеры
        Ручные гидравлические штабелеры
      • Штабелеры электрические
        Штабелеры электрические
        • Самоходные штабелеры с кабиной оператора
        • Самоходный штабелер с телескопическими вилами
        • Самоходные штабелеры с платформой оператора
        • Штабелеры с электрическим подъемом
        • Узкопроходные штабелеры с подъемом оператора
        • Самоходные штабелеры сопровождаемые
        • Узкопроходные штабелеры без подъема оператора
        • Еще
      • Тележки платформенные грузовые
        Тележки платформенные грузовые
      • Подъемные столы передвижные и стационарные
        Подъемные столы передвижные и стационарные
      • Колеса промышленные и ролики
        Колеса промышленные и ролики
      • Бочкокантователи
        Бочкокантователи
      • Запчасти и аксессуары для складского оборудования
        Запчасти и аксессуары для складского оборудования
    • Грузоподъемное оборудование (краны, тали, лебедки, домкраты и т.д.)
      • Лебедки
        Лебедки
        • Лебедки электрические
        • Лебедки ручные барабанные
        • Монтажно-тяговые механизмы (МТМ, лебедки рычажные)
        • Автомобильные лебёдки
        • Канаты для лебедок
        • Еще
      • Тали электрические
        Тали электрические
      • Тали ручные
        Тали ручные
        • Тали ручные червячные
        • Тали ручные шестеренчатые стационарные
        • Тали ручные шестеренчатые передвижные
        • Тали ручные рычажные
        • Механизмы передвижения (кошки) для талей
        • Еще
      • Домкраты
        Домкраты
        • Домкраты гидравлические
        • Домкраты реечные
      • Блоки монтажные, полиспасты
        Блоки монтажные, полиспасты
      • Захваты монтажные
        Захваты монтажные
      • Грузоподъемное оборудование BRANO GROUP (Чехия)
        Грузоподъемное оборудование BRANO GROUP (Чехия)
        • Захваты монтажные BRANO
        • Полиспасты, блоки, механический клин BRANO
        • Домкраты гидравлические и насосы BRANO
        • Тали и механизмы передвижения (кошки) BRANO
        • Лебедки ручные BRANO
        • Домкраты реечные BRANO
        • Еще
      • Запчасти к грузоподъемному оборудованию
        Запчасти к грузоподъемному оборудованию
      • Стропы
        Стропы
      • Цепи
        Цепи
    • Строительное оборудование и инструмент
      • Вибраторы промышленные
        Вибраторы промышленные
        • Глубинные вибраторы
        • Поверхностные (площадочные) вибраторы (вибраторы общего назначения)
        • ТРАНСФОРМАТОРЫ ПОНИЖАЮЩИЕ ТСЗИ
      • Виброплиты
        Виброплиты
      • ВИБРОТРАМБОВКИ
        ВИБРОТРАМБОВКИ
      • Машины затирочные (заглаживающие, вертолеты)
        Машины затирочные (заглаживающие, вертолеты)
      • Мозаично шлифовальные машины
        Мозаично шлифовальные машины
      • Резчики бетона и асфальта
        Резчики бетона и асфальта
      • Станки для резки и гибки арматуры
        Станки для резки и гибки арматуры
      • Трансформаторы для прогрева бетона
        Трансформаторы для прогрева бетона
      • Бетоноломы, молотки отбойные, пики
        Бетоноломы, молотки отбойные, пики
      • Бетоносмесители
        Бетоносмесители
      • Растворосмесители
        Растворосмесители
      • Тачки
        Тачки
      • Вышки-туры, подмости, леса строительные
        Вышки-туры, подмости, леса строительные
        • Вышки-туры
        • Леса строительные рамные
        • Лестницы
        • Подмости
        • Еще
      • ЛЕСА, ВЫШКИ-ТУРЫ И ПОМОСТИ, ЛЕСТНИЦЫ
        ЛЕСА, ВЫШКИ-ТУРЫ И ПОМОСТИ, ЛЕСТНИЦЫ
        • ПОДМОСТИ
        • ЛЕСА СТРОИТЕЛЬНЫЕ
        • ЛЕСТНИЦЫ
      • Краны строительные, лебедки для стройки
        Краны строительные, лебедки для стройки
      • ФОРМЫ для тротуарной плитки
        ФОРМЫ для тротуарной плитки
      • Оборудование для малярных работ
      • Растворонасосы и бетононасосы
        Растворонасосы и бетононасосы
      • Установки для нанесения гидроизоляции
        • Запчасти и комплектующие
        • Оборудование для инъектирования полимерных составов (смол, гелей)
        • Оборудование для инъектирования цементных растворов
        • Пакеры инъекционные
        • Еще
      • Штукатурные станции, шпатлевочные аппараты, хопперы
      • Монтажный пистолет и монтажные патроны, дюбеля
        Монтажный пистолет и монтажные патроны, дюбеля
      • Инструмент для вязки арматуры
        Инструмент для вязки арматуры
      • Ящики для раствора
        Ящики для раствора
      • ТАЧКИ СТРОИТЕЛЬНЫЕ И САДОВЫЕ
        ТАЧКИ СТРОИТЕЛЬНЫЕ И САДОВЫЕ
      • Оборудование для прогрева бетона
        Оборудование для прогрева бетона
      • Запчасти и аксессуары к строительному оборудованию
        Запчасти и аксессуары к строительному оборудованию
    • Сантехническое и каналопромывочное оборудование
      • Прочистка канализации
        Прочистка канализации
        • Ручные тросы и машины
        • Электромеханические машины
        • Гидродинамические машины для прочистки канализации
        • Бензомеханические машины
        • Еще
      • Насадки для очистки труб и поверхностей
        Насадки для очистки труб и поверхностей
      • Трубогибы
        Трубогибы
      • Труборезы
        Труборезы
      • Тиски трубные, трубоприжимы
        Тиски трубные, трубоприжимы
      • Инструмент для нарезки резьбы на трубах
        Инструмент для нарезки резьбы на трубах
      • Опрессовщики для испытания гидросистем
        Опрессовщики для испытания гидросистем
      • Инструмент для изготовления и ремонта теплообменного оборудования
        Инструмент для изготовления и ремонта теплообменного оборудования
        • Устройства для очистки труб
        • Аксессуары для теплообменного оборудования
        • Вальцовки различных серий
        • Пневматические реверсивные вальцовочные машины
        • Инструмент для удаления труб из трубных решеток
        • Машины для обработки и высверливания труб
        • Раскатники и канавочники
        • Машины для удаления оребрения на концах труб
        • Развальцовочные электрические машины серии РЭМ
        • Инструмент для торцовки труб малого диаметра
        • Устройства для отрезки выступающих концов труб
        • Труборезы разъемные
        • Еще
      • Запчасти для сантехнического оборудования
        Запчасти для сантехнического оборудования
    • Электростанции
      • Запчасти к электростанциям и двигателям бензо и дизельным
        Запчасти к электростанциям и двигателям бензо и дизельным
      • Бензиновые электростанции
        Бензиновые электростанции
      • Дизельные электростанции
        Дизельные электростанции
    • Компрессоры и подготовка воздуха
      • Хранение сжатого воздуха
        Хранение сжатого воздуха
      • Подготовка сжатого воздуха (осушители, фильтры, сепараторы)
        Подготовка сжатого воздуха (осушители, фильтры, сепараторы)
      • Утилизация конденсата
        Утилизация конденсата
      • Масла для компрессоров и пневмоинструмента
        Масла для компрессоров и пневмоинструмента
      • Воздуходувки (компрессоры шестеренчатые)
      • Компрессоры поршневые
    • Отопительное оборудование
      • Печи ПЭТ
        Печи ПЭТ
      • Тепловентиляторы
        Тепловентиляторы
      • Тепловые завесы
        Тепловые завесы
      • Теплогенераторы газовые
        Теплогенераторы газовые
    • Прочее
      • Сварочное оборудование
        Сварочное оборудование
      • Станки
        Станки
      • Буры для перфораторов
        Буры для перфораторов
      • Сантехническое оборудование
        Сантехническое оборудование
      • Насосы
        Насосы
      • Электродвигатели
        Электродвигатели
      • Электрооборудование
        Электрооборудование
      • Пистолет монтажный, патроны монтажные, дюбель-гвозди
        Пистолет монтажный, патроны монтажные, дюбель-гвозди
      • МУЛЬТИПЛАЗ - аппараты плазменной резки, сварки любых материалов
        МУЛЬТИПЛАЗ - аппараты плазменной резки, сварки любых материалов
        • Аппараты "МУЛЬТИПЛАЗ"
        • Аксессуары и запчасти на Мультиплаз-7500 и Мультиплаз-15000
        • Аксессуары и запчасти на Мультиплаз-3500
      • Высоконапорные гидродинамические машины (моечные аппараты высокого давления)
        Высоконапорные гидродинамические машины (моечные аппараты высокого давления)
        • Профессиональные аппараты "Посейдон" с электродвигателем
        • Профессиональные аппараты "Посейдон" с автономным мотором
        • Аппараты "Посейдон" с подогревом
        • Профессиональные взрывозащищенные аппараты "Посейдон"
        • Аксессуары
        • Еще
    Каталог
    По всему сайту
    По каталогу
    Аппараты окрасочные Магнитные сверлильные станки Виброплиты Шлифовальные машины Пескоструйное оборудование Сопутствующие товары
    Активатор
    Каталог
    По всему сайту
    По каталогу
    Волгоград
    Активатор
    Телефоны
    +7 (473) 300-36-44 Основной
    8-800-234-80-18 Многоканальный
    Заказать звонок
    Активатор
    • info@aktivator.su
    Активатор
    –
    Окрасочное оборудование
    Оборудование для смесей
    Оборудование для подготовки поверхностей (пескоструйное)
    Оборудование для ППУ (пенополиуретана) и полимочевины
    Оборудование для инъекции смол, раствора и бетона
    Магнитные сверлильные станки, корончатые сверла (фрезы), фаскосниматели, заточные станки
    Дрели и установки алмазного бурения, алмазные коронки
    Электроинструмент
    Пневматический инструмент
    Измерительный инструмент
    Техника для склада
    Грузоподъемное оборудование (краны, тали, лебедки, домкраты и т.д.)
    Строительное оборудование и инструмент
    Сантехническое и каналопромывочное оборудование
    Электростанции
    Компрессоры и подготовка воздуха
    Отопительное оборудование
    Прочее
    –
    Краскопульты
    Оборудование для порошковой окраски
    Аппараты окрасочные
    Оснастка аппаратов окрасочных
    Запчасти окрасочного оборудования
    Разметочные машины
    Краскоизмельчители
    Красконагнетательные баки
    Оснастка для краскопультов
    Сопутствующие товары
    Устройства внутренней покраски труб
    –
    Ручные для побелки
    Аккумуляторные
    Пневматические
    Электрические
    –Краскопульт для побелки СО-20В
    00-00000967_2

    Краскопульт для побелки СО-20В

    0
    Нет отзывов
    Арт. СО-20В
    Характеристики
    Код
    ?
    Код в 1С
    —
    00-00000967
    Привод окрасочного аппарата
    —
    ручной
    Производительность насоса
    —
    1,4 л/мин
    Максимальное давление на выходе из аппарата
    —
    490 ± 98 кПа
    Производитель
    —
    РОССИЯ
    Все характеристики

    Краскопульт для побелки СО-20В

    Все описание
    8 900 руб./шт
    Заказать
    Нет в наличии
    Рассчитать доставку
    Нашли дешевле?
    Хочу в подарок
    • Описание
    • Отзывы
    • Характеристики

    Краскопульт ручного действия СО-20В имеет неоспоримые преимущества перед своими аналогами:

    1. применяемые твердосплавные материалы и коррозионно-стойкое покрытие гарантирует отсутствие ржавчины на поверхности деталей. Окраска краскопульта производится порошковым методом с последующим спеканием напыленных частиц. Благодаря образующемуся полимерному слою, металл конструкции остается защищенным от общей и ножевой коррозии, а изделие выглядит эстетическим и привлекательным даже после нескольких десятков лет активного использования. Твердосплавное распылительное сопло с диаметром 1,4мм.
    2. простота обслуживания краскопульта (не требуется обслуживание всасывающего и нагнетательного клапанов).
    3. возможность обработки значительных по величине площадей за счет объема баллона 2,5±0,5л. За 1 час можно обработать до 250 м² поверхности.
    4. длина удочки 1,4 м. позволяет обрабатывать поверхность  без использования строительных лесов и лестниц на высоту до 4-х метров.
    5. возможность распылять растворы вблизи и на расстоянии нескольких метров от оператора за счет регулировки длины удочки (удочка состоит из двух частей).
    6. минимизированы неудобства в работе и повышена производительность оператора за счет оптимальных эргономических показателей и габаритов краскопульта. Требуется нажимать на рукоятку краскопульта вниз с усилием лишь 15 кг и всего 20 раз в минуту. При работе не нужно постоянно нажимать на курок, т.к. краскопульт оснащен легким в работе шаровым краном, благодаря которому возможно установить требуемый расход материала.
    7. автономность и независимость  от внешних источников энергии.
    8. возможность забора раствора из любой емкости.
    9. равномерное нанесение жидкости без образования капель на поверхности.
    10. комплектация краскопульта легкими полихлорвиниловыми армированными рукавами, комплектом запасных частей. В комплект поставки ручного краскопульта входят удочка, фильтр, хомуты, напорный и всасывающий рукава, форсунка, шток, ключ.

    Преимущества

    • Широкая сфера применения;
    • Рабочее давление: 490 ± 98 кПа;
    • Расход окрасочного состава, не менее: 1.4 л /мин;
    • Объем баллона: 2,5 ±0,5 л.
    • Длина удочки 1,4 м.

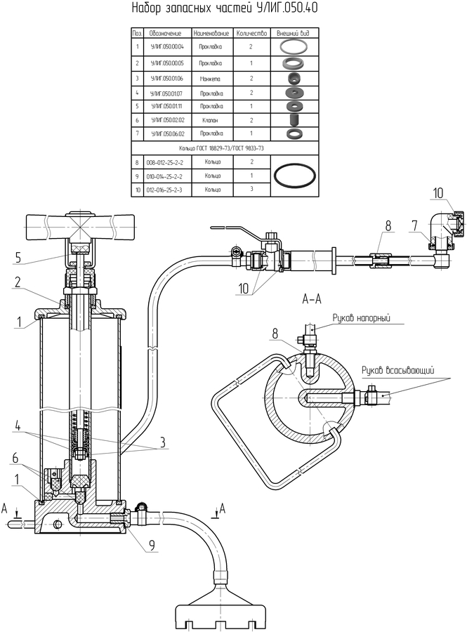
    Комплектация

    • Паспорт;
    • 2 прокладки (СО-20В.100.02);
    • 2 манжеты (СО-20В.400.15);
    • 2 прокладки (СО-20В.500.02);
    • 2 прокладки (СО-20В.500.01);
    • Упаковка.
    Загрузка отзывов...
    Нет отзывов
    Добавить отзыв
    Привод
    Привод окрасочного аппарата
    ручной
    Насос
    Производительность насоса
    1,4 л/мин
    Максимальное давление на выходе из аппарата
    490 ± 98 кПа
    Общие
    Код
    ?
    Код в 1С
    00-00000967
    Производитель
    РОССИЯ
    Объем емкости для материала
    2,5 ± 0,5 л

    Вам также может понравиться

    Быстрый просмотр
    00-00026502_1 00-00026502_2
    9 500 руб./шт
    Краскопульт для побелки AktiSpray СО-20В
    0
    Есть в наличии
    В корзину
    Быстрый просмотр
    00-00022408_1 00-00022408_2
    8 990 руб./шт
    Краскопульт для побелки УЛИГ
    0
    Есть в наличии
    В корзину
    Назад к списку
    Каталог
    Акции
    Статьи
    Сотрудничество
    Контакты
    Компания
    О компании
    Филиалы
    Лицензии
    Документы
    Реквизиты
    Отзывы
    Сервис и Гарантия
    Сервис
    Сервисные центры
    Гарантия
    Оплата и доставка
    Оплата
    Доставка
    Контакты
    +7 (473) 300-36-44
    +7 (473) 300-36-44 Основной
    8-800-234-80-18 Многоканальный
    Заказать звонок
    E-mail
    info@aktivator.su
    info@aktivator.su
    © 2026 Aктиватор.рф
    Конфиденциальность
    Оферта